我公司生產的不銹鋼旋塞閥具有結構簡單、啟閉輕松、使用壽命長、結構緊湊、體積小、安裝方向不受影響等特點。旋塞閥密封面之間的運動帶有擦拭作用、全開時可以完全防止密封面與介質接觸所以可用于帶懸浮顆粒的介質。
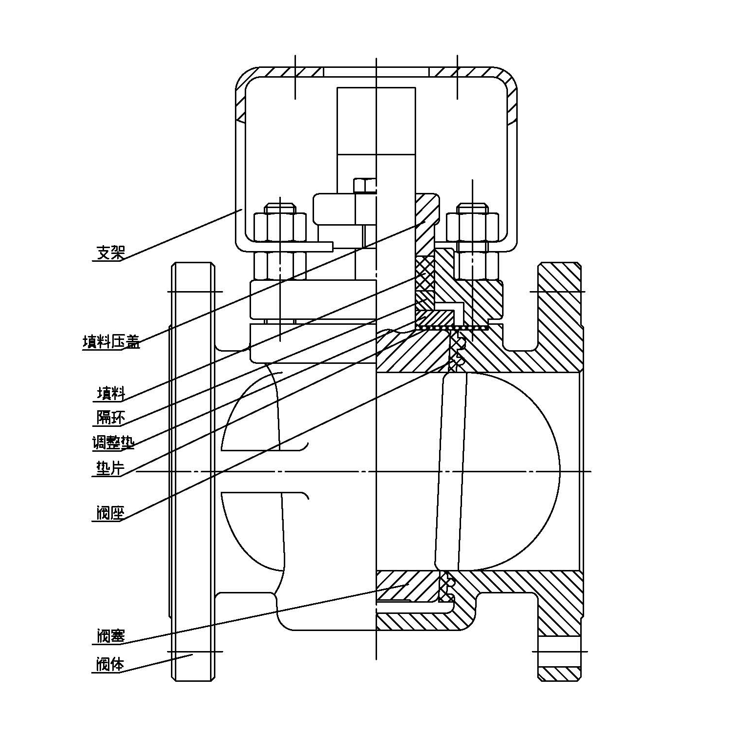
產品結構特點:
美標特材旋塞閥X343F-150LB適用于公稱壓力CLASS150-900LBS,工作溫度為-29-180℃的石油、化工、制藥、化肥、電力行業等各種工況的管路上,切斷或接通管路介質。
旋塞閥主要結構特點:
1、產品結構合理、密封可靠、性能優良、造型美觀。
2、它的密封性是通過卡套四周的密封面來實現的。獨特的360°金屬唇邊保護固定卡套。
3、旋塞閥沒有空腔給介質積聚。
4、金屬唇邊在旋塞轉時提供自潔的作用,適合于粘稠和易結垢的工況。
5、雙向流動,使用安裝更方便。
6、零件材質及法蘭尺寸可根據實際工況或用戶要求合理選配,滿足各種工程需要。
旋塞閥標準規范
設計制造標準:API 599、GB/T 22130、GB 12240
結構長度標準:ASME B 16.10、GB/T 12221
連接法蘭標準:ASME B 16.5、GB、JB、HG、SH、BS、DIN、JIS等
試驗檢驗標準:API 598、GB/T 13927、GB/T 26480、JB/T9092、ISO 5208
| X43H、X43F型PN150(Lb)~900(Lb)旋塞閥 | ||||||||||||
| 主要外形及結構尺寸 | ||||||||||||
| 150(Lb)(mm) | ||||||||||||
| DN/in | DN | d | L | L1(BW) | L2(RTJ) | H | W | O | C | g | t | Z*?d1 |
| 1 1/2 | 40 | 38 | 165 | 165 | 178 | 140 | 280 | 127 | 98.5 | 73 | 15 | 4*?15 |
| 2 | 50 | 51 | 178 | 216 | 190 | 150 | 310 | 152 | 120.5 | 92 | 16 | 4*?19 |
| 2 1/2 | 65 | 64 | 190 | 241 | 203 | 165 | 350 | 178 | 139.5 | 105 | 18 | 4*?19 |
| 3 | 80 | 76 | 203 | 283 | 216 | 180 | 400 | 190 | 152.5 | 127 | 19 | 4*?19 |
| 4 | 100 | 102 | 229 | 305 | 241 | 380 | ─ | 229 | 190.5 | 157 | 24 | 8*?19 |
| 6 | 150 | 152 | 267 | 403 | 279 | 520 | ─ | 279 | 241.5 | 216 | 26 | 8*?22 |
| 8 | 200 | 203 | 292 | 419 | 305 | 580 | ─ | 343 | 298.5 | 270 | 29 | 8*?22 |
| 10 | 250 | 254 | 330 | 457 | 343 | 620 | ─ | 406 | 362 | 324 | 31 | 12*?25 |
| 12 | 300 | 305 | 356 | 502 | 368 | 680 | ─ | 483 | 432 | 381 | 32 | 12*?25 |
| 300(Lb)(mm) | ||||||||||||
| DN/in | DN | d | L | L1(BW) | L2(RTJ) | H | W | O | C | g | t | Z*?d1 |
| 1 1/2 | 40 | 38 | 190 | 190 | 203 | 150 | 300 | 156 | 114.5 | 73 | 21 | 4*?22 |
| 2 | 50 | 51 | 216 | 216 | 232 | 165 | 350 | 165 | 127 | 92 | 23 | 8*?19 |
| 2 1/2 | 65 | 64 | 241 | 241 | 257 | 180 | 400 | 190 | 149 | 105 | 26 | 8*?22 |
| 3 | 80 | 76 | 283 | 283 | 298 | 215 | 450 | 210 | 168.5 | 127 | 29 | 8*?22 |
| 4 | 100 | 102 | 305 | 305 | 321 | 435 | ─ | 254 | 200 | 157 | 32 | 8*?22 |
| 6 | 150 | 152 | 403 | 403 | 419 | 560 | ─ | 318 | 270 | 216 | 37 | 12*?22 |
| 8 | 200 | 203 | 419 | 419 | 435 | 615 | ─ | 381 | 330 | 270 | 42 | 12*?25 |
| 10 | 250 | 254 | 457 | 457 | 473 | 665 | ─ | 445 | 387.5 | 324 | 48 | 16*?29 |
| 12 | 300 | 305 | 502 | 502 | 518 | 735 | ─ | 521 | 451 | 381 | 51 | 16*?32 |
| 600(Lb)(mm) | ||||||||||||
| DN/in | DN | d | L | L1(BW) | L2(RTJ) | H | W | O | C | g | t | Z*?d1 |
| 1 1/2 | 40 | 38 | 241 | 241 | 241 | 160 | 300 | 156 | 114.5 | 73 | 23 | 4*?22 |
| 2 | 50 | 51 | 292 | 292 | 295 | 175 | 350 | 165 | 127 | 92 | 26 | 8*?19 |
| 2 1/2 | 65 | 64 | 330 | 330 | 333 | 195 | 400 | 190 | 149 | 105 | 29 | 8*?22 |
| 3 | 80 | 76 | 356 | 356 | 359 | 240 | 450 | 210 | 168 | 127 | 32 | 8*?22 |
| 4 | 100 | 102 | 432 | 432 | 435 | 395 | ─ | 273 | 216 | 157 | 38 | 8*?25 |
| 6 | 150 | 152 | 559 | 559 | 562 | 545 | ─ | 356 | 292 | 216 | 48 | 12*?29 |
| 8 | 200 | 200 | 660 | 660 | 664 | 625 | ─ | 419 | 349 | 270 | 56 | 12*?32 |
| 10 | 250 | 248 | 787 | 787 | 791 | 660 | ─ | 508 | 432 | 324 | 64 | 16*?35 |
| 12 | 300 | 298 | 838 | 838 | 841 | 720 | ─ | 559 | 489 | 381 | 67 | 20*?35 |
| 900(Lb)(mm) | ||||||||||||
| DN/in | DN | d | L | L1(BW) | L2(RTJ) | H | W | O | C | g | t | Z*?d1 |
| 1 1/2 | 40 | 35 | 305 | 305 | 305 | 165 | 350 | 178 | 123.8 | 73 | 32 | 4*?29 |
| 2 | 50 | 47 | 368 | 368 | 371 | 185 | 400 | 216 | 165.1 | 92 | 38.5 | 8*?26 |
| 2 1/2 | 65 | 57 | 419 | 419 | 422 | 205 | 450 | 244 | 190.5 | 105 | 41.5 | 8*?29 |
| 3 | 80 | 73 | 381 | 381 | 384 | 250 | 500 | 241 | 190.5 | 127 | 38.5 | 8*?26 |
| 4 | 100 | 98 | 457 | 457 | 460 | 405 | ─ | 292 | 234.9 | 157 | 44.5 | 8*?32 |
| 6 | 150 | 146 | 610 | 610 | 613 | 560 | ─ | 381 | 317.5 | 216 | 56 | 12*?32 |
| 8 | 200 | 190 | 737 | 737 | 740 | 645 | ─ | 470 | 393.7 | 270 | 63.5 | 12*?39 |
| 10 | 250 | 234 | 838 | 838 | 841 | 675 | ─ | 545 | 469.9 | 324 | 70 | 16*?39 |
| 12 | 300 | 282 | 965 | 965 | 968 | 740 | ─ | 610 | 533.4 | 381 | 79.5 | 20*?39 |