特點說明:
本閥適用于高硬度的顆粒例如(灰渣水)等介質.或有軟顆粒但又有腐蝕性的介質的管道上作啟閉之用。公稱壓力1.0MPa, 適應溫≤150。C。
密封面采用硬密封與介質接觸的部分均為結構陶瓷材料.其化學穩定性及硬度極高。因此.本閥具有極高的耐磨損、耐腐蝕、 耐沖蝕性能,且隔熱性好、熱膨脹小。
本閥料口全流通無阻擋物.耐磨性能強.密封性能好.啟動負荷小卡灰及結灰現象少。
本閥采用高檔曾韌結構陶瓷密封,機械強度高耐磨性能好使用壽命長。結構緊湊可任意角度安裝。
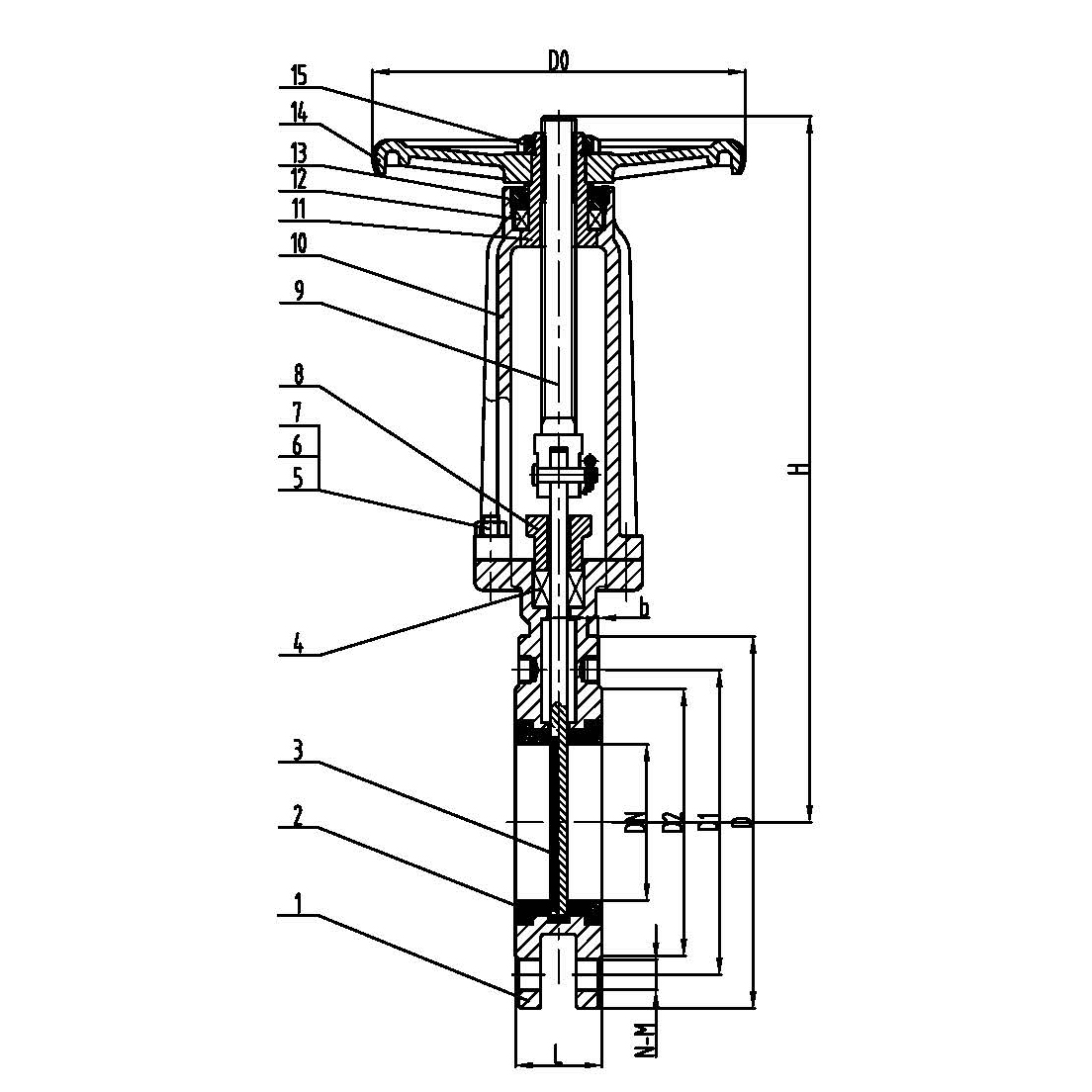
| 主要外形和連接尺寸 | |||||||||
| DN | PN(kg) | L | D | D1 | D2 | H | n-d | D0 | b |
| 50 | 10 | 43 | 165 | 125 | 100 | 285 | 4-M16 | 180 | 12 |
| 65 | 46 | 185 | 145 | 120 | 295 | 4-M16 | 180 | 12 | |
| 80 | 46 | 200 | 160 | 135 | 315 | 8-M16 | 220 | 12 | |
| 100 | 52 | 220 | 180 | 155 | 365 | 8-M16 | 220 | 12 | |
| 125 | 56 | 250 | 210 | 185 | 400 | 8-M16 | 230 | 12 | |
| 150 | 56 | 285 | 240 | 210 | 475 | 8-M20 | 280 | 14 | |
| 200 | 60 | 340 | 295 | 265 | 540 | 12-M20 | 360 | 14 | |
| 250 | 68 | 405 | 355 | 320 | 630 | 12-M24 | 360 | 16 | |
| 300 | 78 | 460 | 410 | 375 | 780 | 12-M24 | 400 | 16 | |
| 350 | 78 | 520 | 470 | 435 | 885 | 16-M24 | 400 | 16 | |
| 400 | 102 | 580 | 525 | 485 | 990 | 16-M27 | 400 | 18 | |
| 450 | 114 | 640 | 585 | 545 | 1100 | 20-M27 | 530 | 18 | |
| 500 | 127 | 715 | 650 | 608 | 1200 | 20-M30 | 530 | 18 | |
| 600 | 154 | 840 | 770 | 718 | 1450 | 20-M33 | 600 | 20 | |
| 應用規范 | ||
| 設計與制造 | JB/T 8691 | |
| 連接端尺寸 | 結構長度 | GB/T 15188.2 |
| 法蘭尺寸 | JB/T 79.1 | |
| 檢驗與試驗 | JB/T 8691 | |
| 材料 | 碳鋼 | GB/T 12229 |
| 不銹鋼 | GB/T 12230 | |
| 標志 | GB/T 12220 | |
| 供貨 | GB/T 12252 | |