




JSTV捷斯特安耐特節能閥
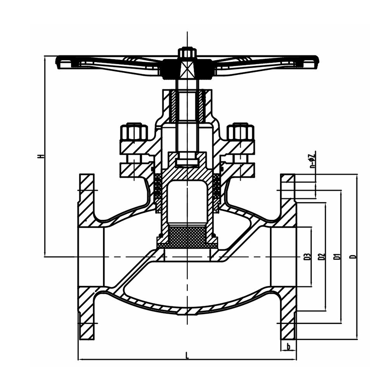
產品結構:閥桿設計為無填料,無壓蓋并與介質零接觸,閥瓣和閥座的密封,設計為可拆卸更換密封件和軟硬結合面配合,已達到最佳的密封效果。是一種耐用、長壽命閥門。可極大的為企業營造潔凈安全生產環境,有效的降低運行成本貢獻創造。
產品用途:適應于液體、氣體管路介質中作為開關或流量調節使用。可廣泛替代傳統截止閥、柱塞閥、閘閥、球閥。
產品型號:JST43Ta-16/25/40/64/100 JST43Y/F-16/25/40/100
閥門主要材質:
特殊材料:鈦Ti-TA2、鎳Ni-cu、Ni-cy、Ni-mo、Ni-cf-mo、蒙乃合金M400、哈氏合金H-C276、鋯Zr702、鉭Ta1、Ta2、TAw2.5、Taw7.5等。
超級耐蝕鋼:904L、908L、JSC4、JSC6。
雙相不銹鋼:2205、2507。
奧氏體不銹鋼:SUS309、254SMo、310S、317L。
不銹鋼:304、321、316、316L、316A。
| 公稱壓力(Mpa) | 1.6 | 2.5 | 4.0 | 6.4 | 10 | |
| 試驗壓力 | 殼體強度試驗(Mpa) | 2.4 | 3.8 | 6 | 9.6 | 15 |
密封試驗(Mpa) | 1.8 | 2.8 | 4.4 | 7.6 | 11 | |
